LOGO OA教程 ERP教程 模切知识交流 PMS教程 CRM教程 开发文档 其他文档  
 
网站管理员

一文搞懂“预算管理”系统:架构、流程、原型

admin
2025年2月25日 21:41 本文热度 2642

我们常说“勒紧裤腰带过日子”“有多少钱办多大事”,这些话体现了对有限资源的合理分配和规划。

对于企业来说也是如此,企业的经营战略不仅需要资源,更需要合理的资源配置。如果把70%的资金都用在吃喝玩乐的应酬上,那么企业能用到实处的资金就会大打折扣。

预算管理是合理分配企业财务、实物及人力资源,以实现企业经营战略,并在实施过程中进行全程控制的内部管理活动。实施预算管理是确保公司战略按计划执行、各部门经营目标顺利达成、加强内部管理控制以及降低经营风险的重要管理手段。

预算管理是一个包含“预算编制、预算控制、预算调整、预算分析”等复杂环节的企业管理活动。为了提高管理效率,建立统一的数据平台,并实时监控整个预算过程,需要构建一个能够涵盖全部预算管理循环的信息化系统,即预算管理系统。


01.预算管理流程架构

预算管理系统负责完成预算的编制及基础管理功能。在预算控制部分,系统利用预算数据和控制策略,为业务活动提供预算控制服务。业务发生后,系统会调用预算控制服务进行相应的预算处理。

预算基础数据包括基础信息和预算金额数据两部分。其中,基础信息又涵盖以下内容:

组织信息:同步组织及其层级结构,同步后可通过组织代码等进行查询。

预算科目:同步预算科目及其层级关系,并确保科目唯一性。

预算科目与核算科目映射:此映射关系用于将核算科目转换为预算科目。

预算策略是基于预算组织、预算科目和控制周期等配置而制定的。预算控制服务则是一种标准服务,它结合预算金额和预算控制策略,提供给外围业务系统使用。外围系统的业务单据占用明细会回传给预算控制系统,用于更新预算可用金额,从而实现业务的预算控制功能。


02.系统集成关系

差旅申请系统用于事前提交出差申请。申请通过后,差旅申请单会自动推送至携程商旅,员工即可据此预订飞机票。预算控制系统为差旅申请提供控制服务,并确保差旅申请返回详细的业务明细。

费用报销系统主要用于个人费用及部分公司费用的申请和报销。预算控制系统为费用报销提供控制服务,并确保费用报销返回详细的业务明细。
预算系统主要负责公司的预算编制、审批和分析等工作。它将预算数据及基础数据传送给预算控制部分,以支持预算控制功能的实现。
人事系统则将人员相关信息传送给预算控制系统,以便进行相关的预算管理和控制。
采购管理系统主要用于公司的对公采购管理,包括供应商管理、采购申请、询比价、采购订单以及收货等环节的管理。


03.预算控制

预算控制平台是依据预算编制结果及预算控制策略,对业务流程实施控制的平台。该平台通过设定组织、项目、预算科目、控制强度、控制周期、年份等维度组合,来定义控制业务流程的具体规则。

该系统包括预算控制策略子系统、预算控制服务子系统、预算调拨子系统,以及配置管理模块、接口管理模块、预算控制分析模块等组成部分。

冻结:指业务单据提交审批后,预算被暂时保留,但尚未实际使用。

占用:指预算已经实际被使用,即相关业务流程已经完成。
控制强度:

  • 不控制:仅统计预算执行情况,不进行任何控制或提醒,业务流程可继续进行。

  • 警告:如超出预算,需加批并走预算外流程。

  • 控制:如超出预算,则无法进行后续业务流程。

控制周期:指计算预算控制额度的时间范围,例如“季度”,表示以季度为范围来计算预算的可用额度。

控制策略通过组合组织、项目、预算科目、控制强度、控制周期、年份等维度,来定义该平台控制业务流程的具体规则;并与预算余额表相结合,共同提供预算控制服务。


04.基础数据同步

预算管理的基础数据可以通过手动或系统自动的方式同步至预算控制系统。

预算控制系统对同步过来的数据进行判断,若数据已存在,则进行更新;若数据不存在,则新增该数据。


05.预算控制流程

当业务系统流转至预算校验节点时,会通过“部门、科目、时间、金额”等参数,向预算控制平台发起预算控制服务请求。由于预算科目与核算科目编码不一致,预算控制平台会依据业务系统提供的参数及映射表进行数据转换。数据转换完成后,平台会根据这些参数查找相应的预算控制策略,如取款控制周期、累计控制等,以进行后续的预算控制处理。

1)预算校验

业务流程流转至预算校验点时,会提供校验参数(包括业务单号、行号、部门、会计科目、年度、期间、行金额)给预算控制平台。预算控制平台会自动根据相关参数获取预算控制策略及预算可用余额,并与业务数据进行逐行比较(若业务单据为多行)。比较完成后,平台会输出控制结果,并根据该结果决定后续流程的进行。

2)预算冻结

业务流程通过预算校验(即预算充足,且控制强度为警告或不控制)后,业务系统会将预算冻结明细反馈给预算控制平台。若业务单据包含多行,则需按行提供明细。这些明细将被写入冻结/占用明细表,同时预算余额表也会得到相应更新。此外,预算调拨申请提交审批后,同样视为预算冻结,并会更新预算余额表。

3)预算占用

已冻结的业务单据,在通过审批(如财务复核点)后,业务系统会将冻结数据信息传递给预算控制平台。平台将先释放冻结的预算,然后生成占用预算。若释放或占用过程中出现错误,系统会将错误信息通知给业务系统。

4)预算冲回

业务单据被终止(如审批退回、主动撤回等)后,业务系统会向预算控制平台提交详细信息(包括单据编号、公司、部门、行号、科目、金额、年度、期间等),以便进行预算冲回处理。


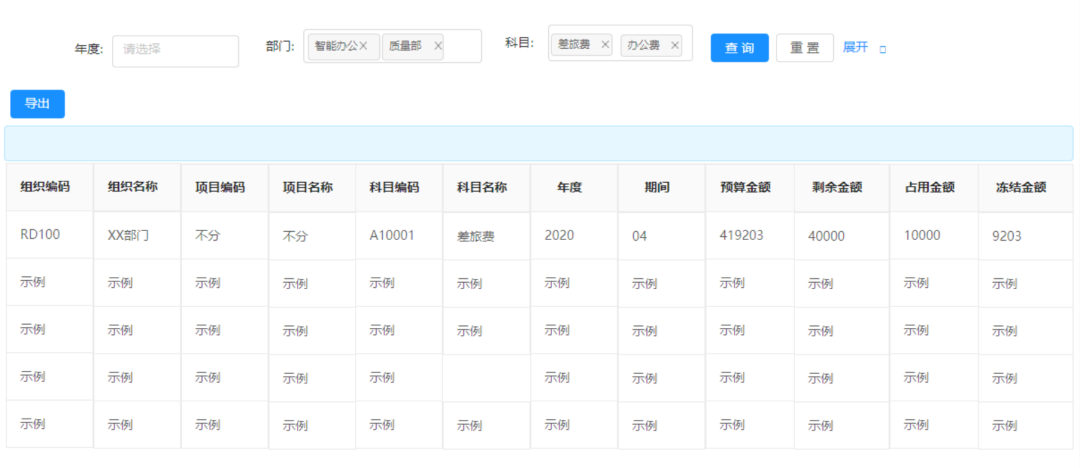
06.预算余额表

预算余额表主要用于记录预算执行的汇总情况,可以直观地查看预算余额、占用余额等信息,并为预算控制服务提供基础的余额数据支持。

其中“组织、项目、科目、年度、期间、版本需唯一,不能重复”,需单独记录调拨中金额;预算原金额为从预算同步过来数据,记录预算版本,预算原金额不更新更改。

预算金额=预算原金额-调拨金额;
预算余额(QTD)=本月预算金额-本月冻结金额-本月占用金额;

预算余额(YTD)=本季预算金额-本季冻结金额-本季占用金额;

其中,“组织、项目、科目、年度、期间、版本”必须唯一,不能重复。调拨中的金额需单独记录。预算原金额是从预算同步过来的数据,需记录对应的预算版本,且预算原金额不得更新或更改。

预算金额的计算公式为:预算金额 = 预算原金额 - 调拨金额。

预算余额(QTD,即季度至今)的计算公式为:本月预算余额 = 本月预算金额 - 本月冻结金额 - 本月占用金额。

预算余额(YTD,即年至今)的计算公式为:本季预算余额 = 本季预算金额 - 本季冻结金额 - 本季占用金额。


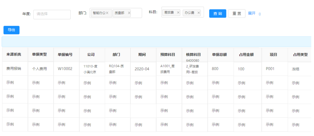
07.冻结与占用明细

主要提供预算冻结和占用明细信息的查询服务。

业务系统需在各个校验点(包括冻结点、占用点、冲回点)将单据的详细信息传送至预算控制平台。数据校验通过后,系统需存储业务明细数据,并同时更新预算余额表。此外,还需记录业务明细是否已经成功更新预算余额表。


08.预算调拨

主要提供预算调拨申请及预算调拨申请查询等功能。

其中,预算调拨金额需小于或等于预算余额,预算调拨申请在审批前视为冻结预算。


09.预算控制与业务系统集成

在业务发生流程中,每个事件发生的节点都会实时对预算进行相应程度的控制,以实现预算控制的目标。

通过费用报销业务流程可以看出,预算控制并非一次性动作,而是需要在每个业务节点都进行相应的控制操作。例如,在申请时进行占用控制,通过时进行耗用控制,不通过时进行冲回控制等。

预算占用是按明细行进行处理的,一旦其中一行超出预算,则整单视为超预算。以下是费用报销的预算校验过程。

本文作者:Mild | 主编:陈天宇宙


阅读原文:原文链接


该文章在 2025/2/26 12:36:17 编辑过
关键字查询
相关文章
正在查询...
点晴ERP是一款针对中小制造业的专业生产管理软件系统,系统成熟度和易用性得到了国内大量中小企业的青睐。
点晴PMS码头管理系统主要针对港口码头集装箱与散货日常运作、调度、堆场、车队、财务费用、相关报表等业务管理,结合码头的业务特点,围绕调度、堆场作业而开发的。集技术的先进性、管理的有效性于一体,是物流码头及其他港口类企业的高效ERP管理信息系统。
点晴WMS仓储管理系统提供了货物产品管理,销售管理,采购管理,仓储管理,仓库管理,保质期管理,货位管理,库位管理,生产管理,WMS管理系统,标签打印,条形码,二维码管理,批号管理软件。
点晴免费OA是一款软件和通用服务都免费,不限功能、不限时间、不限用户的免费OA协同办公管理系统。
Copyright 2010-2025 ClickSun All Rights Reserved